|
|
|
 |
Главная » 2011 » Август » 22
Анализируя продажи машин на российском рынке, были получены среднестатистические данные самых продаваемых автомобилей России . Согласно данным социологических исследований на первое полугодие 2011 года самым продаваемым автомобилем на рынке России стала Lada Kalina. По сравнению с цифрами прошлого года продажи автомобиля Lada Kalina возросли на 81%. Только в июне месяце 2011 года на территории России было продано боль
...
Читать дальше »
|
На российском рынке стартовали продажи KIA Cerato следующего поколения. Это полностью новый автомобиль, с предыдущей версией его объединяют лишь название и принадлежность к классу городских седанов.
...
Читать дальше »
|
Работа двигателя - это извечный компромисс между многими параметрами, нормами, потребностями и возможностями. Основными критериями для разработчиков ПО для контроллеров систем впрыска сегодня является экономичность, ресурс двигателя и токсичность выхлопа. Ожесточающиеся с каждым годом нормы по уровню токсичности выхлопа двигателей заставляют разработчиков переводить ДВС на работу с более обеднёнными смесями и
...
Читать дальше »
Категория:
Тюннинг
|
Просмотров:
711
|
Добавил:
Akial
|
Дата:
22.08.2011
|
|
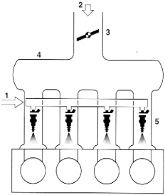
Инжектор или впрыск (от английского inject - "впрыск") топлива - система дозированной подачи топлива в цилиндры двигателя.Существует много разновидностей впрыска - механический, моновпрыск, распределенный, непосредственный. Мы будем рассматривать только относительно современные электронные системы распределенной подачи топлива, на основе ЭСУД (электронной системы управления двигателем) рассчитывающей подачу топлива на основе сигналов установленных
...
Читать дальше »
|
Как известно, абсолютное большинство японских автомобилей вообще оснащаются не карбюраторами, а системами впрыска топлива. Есть мнение, что впрыск - это хорошо, современно и прогрессивно. Также есть другое мнение, диаметрально противоположное первому: впрыск - это сложно, дорого, неремонтопригодно.
|
Вы опаздываете на работу, оставляете на столе недопитый чай, бежите к машине, заводите ее. Еще раз, еще раз, еще раз. Не заводится. В нашем мире, увы, действует закон подлости — каждый раз, когда мы торопимся куда-нибудь, машина не заводится.
Если на одометре вашей машины 90 000 км, а тем более 160 000 км, то
...
Читать дальше »
|
Классификация ДВСПо способу смесеобразования :- с внешним смесеобразованием, у которых горючая смесь приготовляется вне цилиндров (карбюраторные и газовые)
- с внутренним смесеобразованием (рабочая смесь образу
...
Читать дальше »
|
Если KTM смогла разработать X-BOW, то почему другие компании не могут создать нечто подобное? Оказывается, что могут и не только автомобилестроители. Сотворить специальный легковесный спорткар даже под силу производителю мотоциклов. Голландский дизайнер Сабино Леерелтвелд (Sabino Leerentveld), известный своими прототипами Aston Martin V12 и BMW Nazca H
...
Читать дальше »
Категория:
Концепты
|
Просмотров:
616
|
Добавил:
Akial
|
Дата:
22.08.2011
|
|
Сегодня на выставке Pebble Beach Concours d’Elegance в Монтерей, Калифорния,Infinity раскрыла свой новый концепт, JX. Несмотря на приставку «Concept», JX больше или меньше похож на серийный автомобиль, который нам с вами посчастливится увидеть на Автошоу в Лос-Анджелесе. Внешне JX напоминает концепт Essence. Модель имеет три ряда сидений, что позволяет размес
...
Читать дальше »
Категория:
Концепты
|
Просмотров:
517
|
Добавил:
Akial
|
Дата:
22.08.2011
|
|
Люксовое подразделение Nissan все больше стремится к «спортивизации» своих моделей, и даже создает для этого придворное тюнинг-ателье.
Первым опытом для Infiniti Performance Line стало купе G-серии. Для этого автомобиля специалисты новообразованного подразделения подготовили новые элементы экстерьера, колесные диски, а так же новую программу упра
...
Читать дальше »
Категория:
Новинки
|
Просмотров:
583
|
Добавил:
Akial
|
Дата:
22.08.2011
|
|

Mercedes-Benz C63 AMG считается одним из лучших спортивных седанов на сегодняшний день. Но специалисты Carlsson уверены, что его можно сделать еще быстрее и прекраснее.
Без каких-либо вмешательств, 6,2-литровая V-образная «восьмерка» C63 выдает внушительные 457 лошадиных силы и 600 Нм. Все это отправляется на задние колеса через 7-диапазонный автомат. Эта комбинация позволяла автомобилю разгоняться с места до отм
...
Читать дальше »
Категория:
Тюннинг
|
Просмотров:
561
|
Добавил:
Akial
|
Дата:
22.08.2011
|
|
В связи с нападками и неприятностями, которые последнее время преследуют немецкого пилота Lotus Renault GP, его место за рулем болида не так очевидно. Но все же есть люди, которые принимают сторону ветерана.
Первым из более или менее влиятельных людей в мире автомобильного спорта отстаивать честь Ника Хайфельда взялся бывший владелец команды Формулы-1 ,а ны
...
Читать дальше »
Категория:
Автоспорт
|
Просмотров:
472
|
Добавил:
Akial
|
Дата:
22.08.2011
|
| |
|
|
 |
 |
 |
|
|
|